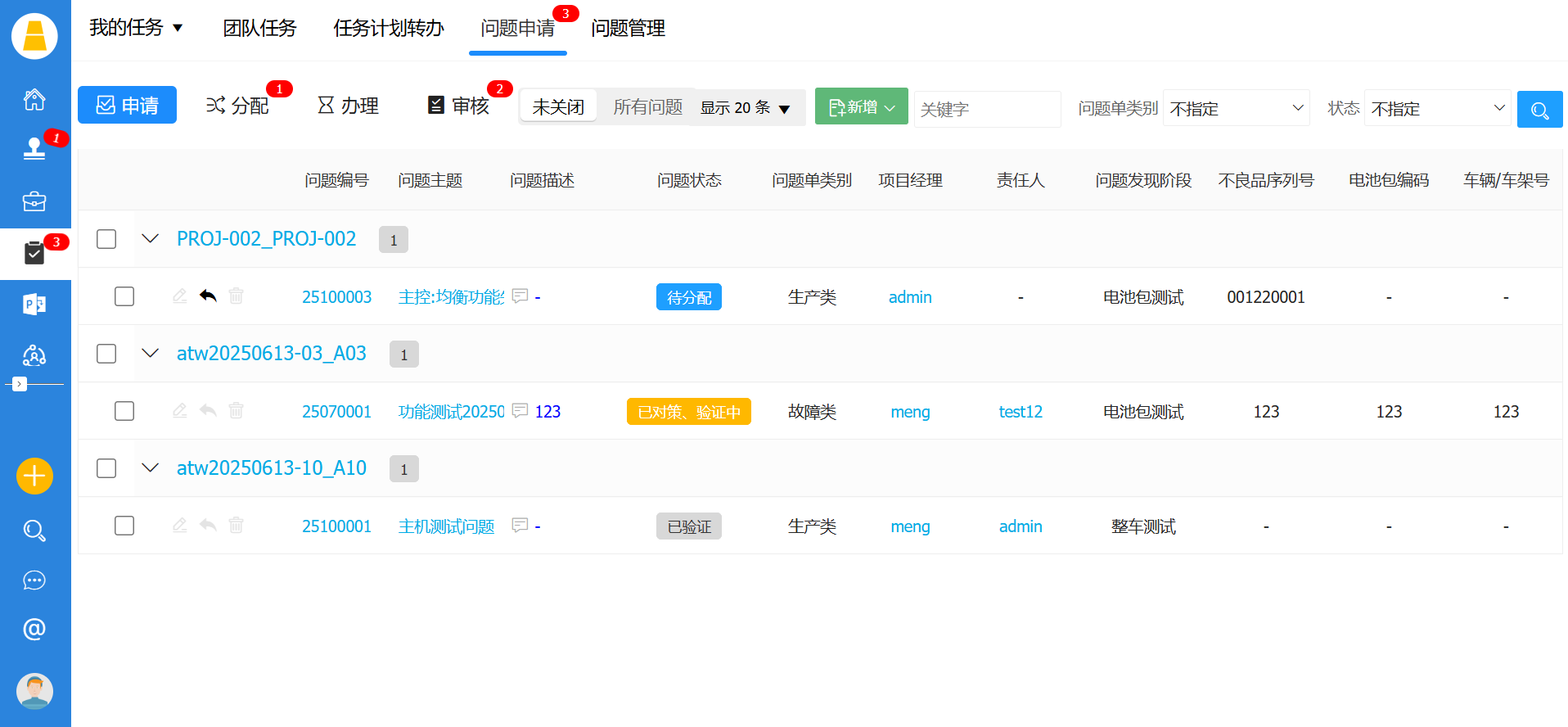
在项目推进过程中,各类问题的及时处理是保障项目顺利落地、规避风险、提升效率的关键环节。然而,若缺乏规范、清晰的问题处理流程,易出现问题上报不及时、责任分配不明确、办理推进效率低等情况,进而影响项目整体进度与质量。为有效解决这一痛点,本《项目问题上报、分配、办理操作指南》聚焦项目问题管理全流程,系统梳理了问题从上报发起、精准分配到高效办理的具体操作步骤、核心要求与注意事项,旨在为项目管理人员、执行人员及相关协作方提供标准化、可落地的操作依据,助力实现项目问题闭环管理,确保项目各项工作有序推进。
问题新增:
问题导入:

指派责任人:

责任人处理:
问题转办:

更新状态:
文章标题:AceTeamwork研发及项目问题管理功能,让你轻松解锁和掌握项目问题的上报、分配和办理等操作步骤,
发布者:AceProject,转载请注明出处:http://www.aceteamwork.com/news/6110。
在项目管理过程中,清晰的任务拆解、顺畅的团队协作和完善的流程闭环是项目高效推进的核心保障。Ace […]
为高效追踪项目资源投入与人力成本,科学驱动管理决策,“AceTimesheet工时软件”为您提供了直观、全面的 […]
AceTeamwork 移动端填报工时功能便捷高效,帮助员工随时随地记录工作内容,管理人员也能及时审核处理,提 […]
在日常办公中,审批流程的效率直接影响工作推进节奏。AceTeamwork 聚焦审批痛点,通过多端 […]
要实现研发项目人力成本的精准核算,可借助AceTimesheet研发工时软件。系统支持无缝导入工资与奖金数据, […]
在项目执行中,“有人忙到熬夜加班,有人闲到无所适从” 的人力忙闲失衡,是企业产能浪费的核心痛点。 […]
在项目管理中,精准的人力成本核算对于评估项目效益、控制预算至关重要。AceTimesheet工时计算软件通过灵 […]
本文聚焦 AceProject项目管理系统的风险管理模块,详细梳理了从风险精准识别、到应对措施录 […]
eTimecard 车间生产工时管理系统,主要实现车间生产计划、工时收集及工人绩效等管理诉求,适用于流水线及非流水线的生产制造型企业。


