对于任何一位管理者或HR负责人来说,准确、及时地掌握团队的工时情况是项目管理的基石、成本控制的关键,也是确保薪酬核算公平的基础。然而,当团队规模扩大或项目复杂度增加时,“如何看清所有人的工时?”便成了一个核心挑战。
本文您将系统了解如何借助AceTimesheet,轻松完成工时填写监控、审批进度跟踪、全员明细查询乃至数据修正的全链路操作,构建透明、高效的数据驱动管理体系。
工时填写情况查询页面,可以查询员工不同状态的工时汇总信息。支持Excel导出、同时支持“导出未提交工时明细表”。
【PC端操作步骤】
登录PC端有“工时管理”权限的账号,进入首页→点击左侧导航栏的“工时表”菜单→再点击主页面上侧的“工时监控”菜单下方的”工时填写情况“子菜单,则进入工时记录查询页面。

工时审批情况查询页面,可以看到、或导出当前未审批工时的人员,点击数目可详细查看未审批工时内容。
【PC端操作步骤】
登录PC端有”工时管理”权限的账号,进入首页→点击左侧导航栏的”工时表”菜单→再点击主页面上侧的“工时监控”菜单下方的”工时审批情况“子菜单,则进入工时记录查询页面。

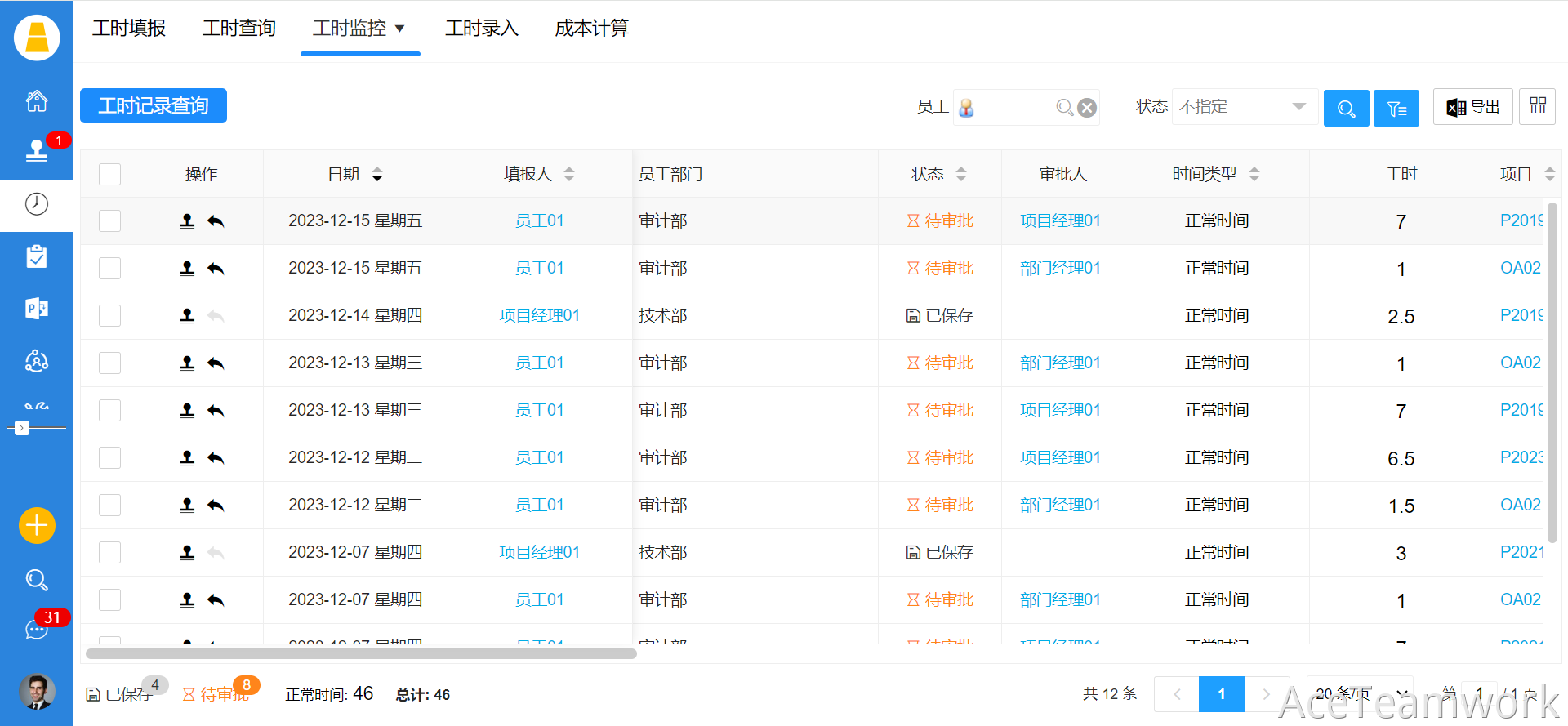
工时管理人员可以查询企业所有人员的工时填写明细信息。
【PC端操作步骤】
登录PC端有”工时管理”权限的账号,进入首页一点击左侧导航栏的”工时表”菜单一再点击主页面上侧的“工时监控”菜单下方的”工时记录查询”子菜单,则进入工时记录查询页面。

有工时修改、或工时撤回权限的人员,可以修改、或撤回审批通过的工时明细数据。
【PC端操作步骤】

建议:具体操作可能因AceTimesheet的版本和您公司的定制化设置略有不同。最准确的做法是参考您公司内部的系统使用手册,或联系系统管理员获取最直接的指导。
文章标题:AceTimesheet工时监控全攻略:填写、审批、查询与修正;
发布者:Timesheet,请转载注明出处:http://www.aceteamwork.com/news/6168。
一、场景直击:高新企业研发费用管理的“合规焦虑” 凌晨两点,某高新企业财务部办公室依旧灯火通明。财务负责人盯着 […]
当研发人员身兼多个项目、人力投入交叉重叠; 当项目周期拉长,人工成本难以精准统计、无法溯源; 当 […]
深夜赶工频发、文件版本杂乱无序,跨部门协作信息传递滞后,项目成本模糊失控、进度难以实时追踪,成果文件分散存储、 […]
项目管理中,不少团队都曾陷入这样的困境:立项时拍脑袋预估工时,执行中要么人力过载、要么资源闲置, […]
IPO 审核已进入 “穿透式监管” 时代,研发工时、项目成本归集成为问询重灾区 —— 科创板近 40% 终止案 […]
AceDocs文档管理系统是 AceTeamwork 旗下的一款用于构建企业及项目知识库的产 […]
在项目管理中,合理预估工时是保障项目有序推进、资源有效分配的基础。本文将为您详细介绍在“AceTeamwork […]
AceTeamwork旗下的AceProject研发&交付管理软件在交付项目过程管理中, […]
eTimecard 车间生产工时管理系统,主要实现车间生产计划、工时收集及工人绩效等管理诉求,适用于流水线及非流水线的生产制造型企业。


